Pour ceux qui le savent je suis en pleine restauration de Chipie !
J'ai donc commander la plupart des pièces sauf les durites moteur et radiateur.
Il s'agit d'une 205 XRD XUD7 phase 1 de 1986.
Je suis à la recherche de toutes les références afin de commander les durites.
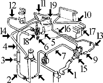
Voici un schéma afin d'avoir une idée de l'ensemble.

Merci
